「押すだけで混合できる容器」で特許を取った会社から学ぶ: ローテク発想が最強の参入障壁になる  

特許

1.はじめに:あなたの会社にも「取れる特許」がある

特許というと、「難しい化学式」「最先端の素材研究」「大企業だけの話」と思っていませんか?
今回ご紹介するのは、容器を押したら薬剤が混ざる仕組みを特許にした会社の話です。
特殊な素材も、複雑な化学反応も関係ありません。

「どう押したら、どう動くか」というデザインの工夫だけで、強力な知的財産を作り出した事例です。
これはスタートアップ経営者こそ注目すべき特許戦略の教科書です。

 

2.株式会社タウンズ:感染症診断の国内リーディングカンパニー:

会社概要

1987年創業、静岡県伊豆の国市に本社を構える体外診断用医薬品メーカーです。「診断技術で、安心な毎日を」をコンセプトに掲げ、2024年6月に東京証券取引所スタンダード市場へ上場(証券コード:197A)。売上高は約184億円、従業員数は360名と、着実に成長を続けています。

主力製品と強み

タウンズの看板製品は、インフルエンザ・COVID-19・RSウイルスなどの抗原迅速検査キット「イムノエース®」シリーズ。病院やクリニックで「あの検査キット」として日常的に使われているものです。国内シェアは上位を誇ります。

競合に対する差別化の核は、以下の3つのコア技術の融合です。

  • イムノクロマト法(試験紙式の迅速検査技術)
  • 独自の抗体創出技術
  • 白金-金コロイドを用いた高感度検出技術(通称「ブラックライン」)

さらに近年は、専用測定機器との連携による高精度化を推進。2026年2月には富士山三島工場を本格稼働させ生産能力を増強。EMC Healthcare社との資本業務提携やクレアボ・テクノロジーズ社の子会社化など、M&Aによる事業拡大も積極的に進めています。東京オフィス(日本橋兜町)には海外事業推進室を設置し、グローバル展開も視野に入れています。

 

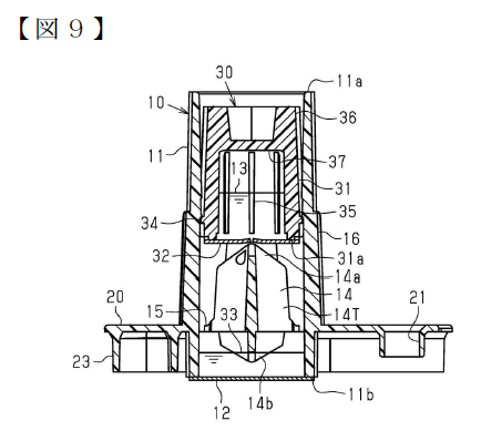
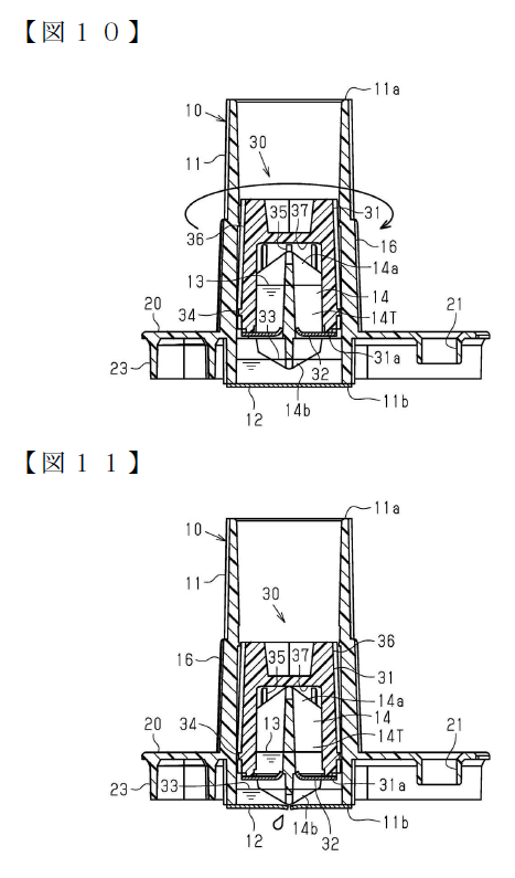
3.特許第7336101号「混合容器」:ローテク発想が生んだ高付加価値の権利

なぜこの特許がすごいのか

素材でも化学でもなく、「動く順番」を特許にした——これがこの特許の本質です。

発明の内容を一言でいうと、「2つの薬剤が入った容器を押すだけで自動的に混合され、そのまま使える」構造です。

仕組みはシンプルです。

  1. 上の容器を押し下げる
  2. 上の膜(第2膜)が破れる
  3. その力が中間の「破断部材」に伝わる
  4. 破断部材が下の膜(第1膜)も破る
  5. 2つの薬剤が混ざり、取り出せる状態になる

図9・図10・図11(特許公報の断面図の引用)を見ると、この3ステップが視覚的に一目でわかります。「押す力が順番に下へ伝わっていく」構造が断面で示されており、化学や医学の知識がなくても動作のイメージがつかめます。

 4.最も重要なクレームを読んでみよう:

特許の権利範囲を決めるのが「請求項」(クレーム)です。請求項1を読むと、次のような記述になっています。

第1頂部開口と第1底部開口とを備えた筒状の第1容器であって、前記第1底部開口を封止する第1膜を備えて、筒内に第1剤を収容する前記第1容器と……前記破断部材の下端は、前記破断部材の降下によって前記第1膜を破断するように構成されている混合容器。

難しそうに見えますが、要は  「押したら上の膜が破れて、その力で下の膜も破れる構造の容器」  と書いているだけです。

ここで注目すべき点が2つあります。

数値も素材の限定もない。 「何センチの容器」「どんな素材の膜」といった数値的な縛りがまったくありません。構造と動作の順序だけを権利にしているので、権利の範囲が広く、競合が類似品を作りにくくなっています。

②DICプラスチック社との共同出願。 タウンズが発明のアイデアを持ち、製造ノウハウを持つ大手素材メーカーと組むことで、実用性と信頼性をあわせて特許に組み込んでいます。スタートアップが単独では出しにくい「製造の裏付けがある特許」を実現した形です。

 

5.スタートアップへの3つの学び:

学び①「動作の順序」はそれ自体が特許になる

特許は製品そのものだけでなく、「どう動くか」というフローを権利化できます。

ソフトウェアに例えると、処理の手順書に特許を取るイメージです。タウンズの事例では、「押す→上が破れる→下が破れる」という動作の連鎖が1本の請求項にまとめられています。

今日からできること: 自社のサービスや製品の中で「この順番でないと成立しない動き」を書き出してみてください。それが特許の種になる可能性があります。

学び②「本体」ではなく「使うための周辺器具」にも特許を取れ

タウンズのコアビジネスは試薬・抗体です。しかし今回の特許は「容器」の話です。
試薬を作る技術は模倣されにくくても、使いやすさの部分は競合に真似されやすい。

そこで ” 「使うための器具」にも特許を張ることで、エコシステム全体を守る” 戦略を取っています。

今日からできること: 自社の主力製品・サービスに「セットで使われるもの」「接続するもの」を書き出してください。そこにも権利化の余地がないか、弁理士に相談してみましょう。

学び③製造パートナーとの「共同出願」が特許の価値を上げる

タウンズはDICプラスチックという大手と共同で特許を出願しています。これにより、「実際に量産できる」という信頼性が特許に加わります。

スタートアップが単独で出す特許は「アイデアがある」だけになりがちです。しかし製造・調達・販売のパートナーと共同出願すると、「実現できるアイデア」という重みが加わり、特許の活用範囲が広がります。(注:あらゆる場合に共同出願をお勧めする趣旨ではありません。)

今日からできること: 現在のサプライチェーンや製造委託先との関係を振り返り、自社単独で創作した案が無いかを確認してください。その上で、「一緒に開発した工夫」がないか確認してください。共同発明として出願できるケースが眠っているかもしれません。

 

6.まとめ:今日から特許を「攻めの経営ツール」として使う

タウンズの「混合容器」特許から学べることを一言でまとめると、

「ハイテクでなくていい。動く順番とデザインの工夫が、最強の参入障壁になる」

ということです。

自社のサービスや製品を振り返ってみてください。

  • ユーザーが「このやり方でないと使えない」と思っている操作の流れはありますか?
  • 主力製品と一緒に使われる周辺ツールや器具はありますか?
  • 製造や販売の観点で自社単独で工夫した点はありますか?

これらはすべて、特許の候補です。

特許は取ってからが本番ではありますが、「取れるかどうか考えたことがなかった」という段階から抜け出すことが最初の一歩です。まず弁理士に30分の相談を予約することから始めてみてください。タウンズのように、地道な技術の積み重ねとスマートな権利化の組み合わせが、長期的な競争優位を作ります。

今回もご覧いただきありがとうございました。

※本記事は公開されている特許情報や企業開示資料をもとに、ブログ掲載用に整理したものです。内容は一般的な解説であり、法的な判断を示すものではありません。具体的な特許戦略については、専門家へご相談ください。ご関心があれば、(こちら)からご連絡ください。

<参考文献>
・J-PlatPat 特許第7336101号「混合容器」
・株式会社タウンズ有価証券報告書(2025年6月期)
・株式会社タウンズ 企業サイトhttps://www.tauns.co.jp/

タイトルとURLをコピーしました